RESEARCH/REVIEW ARTICLE

Plant co-existence patterns and High-Arctic vegetation composition in three common plant communities in north-east Greenland

Oriol Grau,1 Josep M. Ninot,1 Aaron Pérez-Haase1 & Terry V. Callaghan2,3

1 Department of Plant Biology and Institute for Research on Biodiversity, University of Barcelona, Av. Diagonal 643, ES-08028 Barcelona, Catalonia, Spain
2 Royal Swedish Academy of Sciences, Lilla Frescativägen 4A, SE-114 18, Stockholm, Sweden
3 Department of Animal and Plant Sciences, University of Sheffield, S10 2TN Sheffield, UK

Abstract

Arctic regions are expected to experience substantial changes in climate in the coming decades. In order to predict potential changes of Arctic vegetation, it is important to understand the distinct role of life forms of plants and of individual species in relation to plant co-existence patterns. Our aim is to investigate if three common Arctic plant patch types dominated by contrasting life forms (by the dwarf shrubs Salix arctica or Dryas octopetala×intermedia or by mosses) are related (a) to the co-existence of vascular plants and species richness at patch scale and (b) to the floristic composition in three distinct plant communities (Salix snowbed, Dryas heath and fell-field) associated with contrasting abiotic regimes. The study was conducted at Zackenberg, in north-east Greenland. Dryas patches showed a clear negative effect on small-scale plant richness and co-existence in the fell-field. Salix and moss patches showed a similar pattern in all the plant communities, although the number of individuals growing in Salix patches was lower than in moss patches. Salix and mosses in the fell-fields hosted a high number of species in spite of the much less vegetated aspect of this harsh, upper zone. The floristic composition varied between plant communities, but it did not change substantially between patch types within each community. This study provides novel background knowledge of plant co-existence patterns at patch scale and of the structure of contrasting Arctic plant communities, which will help to better assess the potential effects of varying abiotic stress regimes on Arctic vegetation.

To access the supplementary material for this article, please see the supplementary files under Article Tools online.

Keywords
Abiotic stress; Arctic vegetation; co-existence patterns; plant community; species richness.

Correspondence
Oriol Grau, Department of Plant Biology, University of Barcelona, Av. Diagonal 643, ES-08028 Barcelona, Catalonia, Spain. E-mail: grau.oriol@gmail.com

(Published: 25 September 2014)

Polar Research 2014. © 2014 O. Grau et al. This is an Open Access article distributed under the terms of the Creative Commons Attribution-Noncommercial 3.0 Unported License (http://creativecommons.org/licenses/by-nc/3.0/), permitting all non-commercial use, distribution, and reproduction in any medium, provided the original work is properly cited.

Citation: Polar Research 2014, 33, 19235, http://dx.doi.org/10.3402/polar.v33.19235

 

Arctic regions are expected to continue to experience substantial changes in climate in the coming decades according to most recent models and assessments (Symon et al. 2005; Solomon et al. 2007; AMAP 2011). There is growing confidence that there will be a marked increase in mean annual temperatures and changes in precipitation regimes, particularly snow (Brown & Mote 2009). The regional models project much larger local temperature increases in winter, compared with other seasons, particularly along Greenland’s east coast. This is related to the retreat of sea ice and increased precipitation in northern Greenland (Stendel et al. 2008). The marked effect of climate change on organisms (e.g., Post et al. 2009; Callaghan, Tweedie et al. 2011) and on ecosystem functioning (e.g., Euskirchen et al. 2006; Lara et al. 2012; Myers-Smith et al. 2011) in the Arctic and the consequences of these effects at a larger scale have led to an increasing importance of understanding climate–ecosystem interactions in northern latitudes, particularly as not all ecosystems have responded as expected to climate change (Callaghan, Tweedie et al. 2011; Van Bogaert et al. 2011).

Snow cover and length of the growing season are crucial factors determining the characteristics and functioning of plant communities occurring in deglaciated areas in the Arctic (Evans et al. 1989; Elberling et al. 2008; Callaghan, Johansson et al. 2011). For instance, substantial phenological changes have already been detected recently in plants in response to advanced snowmelt in north-eastern Greenland (Høye et al. 2007; Schmidt et al. 2012) and to manipulated and natural extreme thaw events in the sub-Arctic in winter (Bokhorst et al. 2009). Variations of snow cover regimes lead to marked changes of abiotic soil parameters, such as water content, temperature or depth of the active layer; snow acts both as a resource for vegetation (e.g., moisture store) and as an abiotic stressor (e.g., constraining the length of the growing season). The dynamic balance between variations in the resource and abiotic stresses on plants is important because this balance is expected to determine the nature of plant–plant interactions (Lortie et al. 2004) and thus control the plant co-existence patterns. The distinct role of contrasting life forms of plants and of individual species in relation to co-existence patterns in Arctic environments remains poorly explored (Pajunen et al. 2011), although this issue is crucial to understand potential changes of vegetation under varying abiotic stress regimes.

Dwarf shrubs are a dominant life form in cold regions and have expanded during the last decades in northern latitudes (Hallinger & Wilmking 2011; Myers-Smith et al. 2011; Rundqvist et al. 2011). They have been described as potential facilitators or as drivers of plant co-existence and plant community composition in cold environments, such as in alpine, sub-Arctic and Arctic ecosystems (Klanderud & Totland 2004; Graae et al. 2011; Grau et al. 2012). On the other hand, in cold regions, mosses are also very abundant and expected to decrease under a warmer climate (Wijk et al. 2003; Walker et al. 2006) or with increasing snow cover (Wahren et al. 2005); mosses have been described as crucial drivers of vascular plant recruitment and plant composition in the sub-Arctic (Soudzilovskaia et al. 2011). Nevertheless, it remains unknown if and how shrubs or mosses affect the plant co-existence patterns at patch scale and the plant community composition under contrasting abiotic regimes in High-Arctic ecosystems.

Our aim is to investigate if distinct common Arctic plant patch types dominated by dwarf shrubs and mosses are related to the co-existence of vascular plants and species richness at patch scale and the floristic similarity in three distinct plant communities. The plant communities are Salix snowbed, Dryas heath and fell-field, which are associated with contrasting abiotic regimes, with regard to snow cover, soil water saturation, active layer depth or soil temperature (see Table 1). The patch types selected within these three plant communities were patches with high dominance of Salix arctica Pall., Dryas octopetala L.×intermedia Vahl.—hereafter Salix and Dryas, respectively—and patches without any dominating dwarf shrub but covered with a thin layer of mosses. These three patch types show obvious structural differences between them (for instance, the density of the covering canopy, litter accumulation, biomass dry weight/fresh weight; see patch type descriptions below and Table 1), which may result in different plant co-existence patterns. We hypothesize that the structural differences between the distinct patch types (i.e., Salix, Dryas and mosses) will lead to varying species co-existence and richness patterns at patch scale independently of the community type in which they occur.


Table 1 Attributes of the communities sampled and mean values (±standard deviation) of some relevant biotic and abiotic variables.
    Fell-field Dryas heath Salix snowbed
Altitude (m a.s.l.)a   300–600 150–300 <150 m
Slope angle (°)   13 11 0
Cover of main patch types (%) Dryas 14.07±7.38 40.29±5.03 11.59±9.78
  Salix 7.85±3.42 25.17±7.25 50.09±8.76
  Mosses 6.44±4.09 19.27±17.57 24.17±14.13
Leaf dry weight per area (g/m2) at patch scale Dryas 92±19 71±19 98±13
  Salix 83±21 74±10 70±4
Leaf N*(%)b Dryas 1.46±0.25 1.62±0.32 1.65±0.36
  Salix 1.95±0.27 2.38±0.16 2.33±0.28
Leaf C/N Dryas 30.57±4.20 26.56±4.36 28.18±9.23
  Salix 22.15±2.48 18.11±1.24 18.68±2.11
Average snow depthc   No snow or irregular snow cover 61 cm 95 cm
% Water saturation (per vol., at 0–5 cm)c   <40 40–60 65–90
Soil T°C at 5 cmc,d   Not determined 9.1±3.8 7.6±3.8
Soil parametersc   Increasing soil water content from fell-field to snowbed
    Increasing soil element stocks from fell-field to snowbed
    Decreasing active layer depth from fell-field to snowbed
aAccording to Bay (1998).
b % N is significantly lower in the fell-field in both Salix and in Dryas patches, compared to the heath and to the snowbed. Dryas patches also show significantly lower values of % N compared to those in Salix patches. See Supplementary Fig. S4.
cData from Elberling et al. 2008.
dAverage of hourly readings in July and August.

Material and methods

Study area

The study was conducted in July 2011 along the south-western slope of Mount Aucellabjerg, in the Zackenberg valley, near the Zackenberg Research Station (74°30′N, 20°30′W), on the north-eastern coast of Greenland. This area was deglaciated about 10 000 years ago and currently its High-Arctic climate is strongly affected by the wide and dense belt of polar pack ice on the coast, which makes the climate more continental, with very cold winters, little precipitation and sunny summers (Meltofte & Rasch 2008). During the polar night, monthly mean air temperatures are below −20°C, with dominating northerly winds. In the snow-free summer period, the mean monthly air temperatures vary between 3°C and 7°C in July and August and daily temperatures rarely get below zero during this warmest part of the summer season (Hansen et al. 2008). The growing season at Zackenberg starts in late May in early snow-free areas, while extensive snow cover may prevail into early summer in snowdrift areas (Meltofte & Rasch 2008). The average annual accumulated precipitation at Zackenberg was 261 mm for the years 1996–2005, of which 10% was rain and 7% was mixed precipitation. For the period 1958–2005, there has been an increase of 1.9 mm/year in the annual precipitation and a significant annual warming of 2.25°C for the period 1991–2005 (Hansen et al. 2008).

Plant communities

We selected three main plant communities occurring along the altitudinal gradient (35 m to 450 m a.s.l.) in Aucellabjerg. These were representative of the vegetation commonly found at low, medium and high elevation, respectively. The communities were the Salix snowbed, occurring mainly at the bottom of the valley, with high vegetation cover; the Dryas heath, which is found at intermediate altitudes, still with substantial plant cover; and the fell-field, dominated also by Dryas but with sparse vegetation (Bay 1998; Table 1). These three plant communities are also associated with decreasing snow thickness from Salix snowbeds in the valley bottom to the fell-fields at higher altitude; wind-blown snow accumulates on valley bottoms, where snowdrifts persist until early summer (Hinkler et al. 2008). At higher altitudes the effect of wind becomes progressively stronger, and snow is frequently blown away throughout the winter season. Therefore, there is intermediate snow accumulation in the Dryas heath and less accumulation in the fell-fields. Soil water content and storage of organic matter increases from the fell-field to the Salix snowbed, whereas the active layer depth shows the opposite trend (Table 1); the maximum active layer depth (as determined by the 0°C isotherm; Christiansen et al. 2008) is reached by the end of August. It is about 80 cm deep at the Dryas heath and about 45 cm in Salix snowbeds (Elberling et al. 2008; Meltofte & Rasch 2008).

Patch types and study species

In each plant community, we searched for three distinct patch types, each dominated (>80% cover) by (1) Salix, (2) Dryas or (3) mosses, as described below.

Salix is a dominating dwarf shrub in the Zackenberg valley (Bay 1998) which thrives in a wide niche range, from sand and almost barren moraine tills, to snowbeds—where it is dominant—and open fell-fields. It shows wide morphological plasticity, forming diffuse mats with long twigs and large leaves in disturbed spots or under low competitive conditions, and smaller structures in fell-fields or in denser tundra. Salix comprises a larger component of musk oxen (Ovibos moschatus) and collared lemming (Dicrostonyx groenlandicus) diet than Dryas (Klein & Bay 1994; Berg et al. 2008).

Dryas is also a dominating dwarf shrub in the study area and is an Arctic–alpine species, which has a circumpolar distribution in the Northern Hemisphere. It has also a wide niche, although it is less opportunistic and also less adapted to long lasting snow cover than Salix (Bay 1998). In the Zackenberg region, it forms dense cushion-shaped mats which protrude from the bare soil in the fell-fields, or from flat ground or small convexities in moister tundra and snowbeds. Dryas mats have this compact, dense structure as they retain a great amount of dead leaves attached to the stem. It shows higher dry weight/area (Table 1) and higher dry weight/fresh weight ratios than Salix (Supplementary Fig. S1a). Dryas dominates in the heaths but also occurs sparsely in the snowbed and in the fell-fields.

The third patch type is comprised of mosses without any dominant co-occurring shrub; the distinct moss species forming this patch type could not be identified, partly because of their early stage of seasonal development during the sampling period. The mosses showed a rather homogeneous structural aspect and stage of development; this patch type was dominated by poorly developed moss carpets or tiny layers of prothalli, although some small spots with cushion-shaped acrocarpic mosses (such as Polytrichum sp.) and sparse macrolichens (such as Cetraria ricetroum Opiz, Peltigera rufescens (Weiss) Humb. and Stereocaulon gr. alpinum Laurer ex Funck) were present. In this patch type there was very little biomass production and litter accumulation compared to Salix and Dryas patches. The plants growing in the mosses were therefore not generally affected by shade from a covering canopy as occurred in the shrub patches.

Data collection

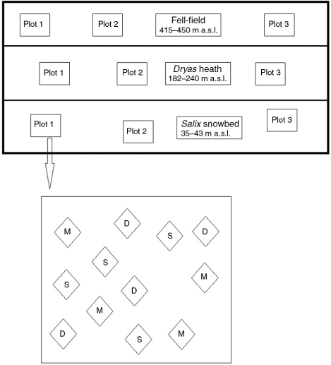
We selected three study plots at similar altitudes within each plant community (i.e., Salix snowbed, 35–43 m a.s.l.; Dryas heath, 182–240 m a.s.l; and fell-field, 415–450 m a.s.l; Fig. 1), separated by a few hundred metres from each other, but with similar orientation (mainly south-west). In a radius of approximately 10 m (Fig. 1) within each plot, we searched for the three distinct patch types. To clearly elucidate the effects of each patch type, mixed patches were rejected. Thus only those where Dryas or Salix or mosses clearly dominated (>80%) were considered. For instance, we avoided those Dryas or Salix patches which contained high cover of mosses. Within each patch type we sampled four 25×25 cm quadrats, which were treated as subsamples (n=4 subsamples×3 patch types×3 plots×3 plant communities=108 quadrats in total; see Fig. 1). Each quadrat was surveyed with a rigid frame divided into 100 2.5×2.5 cm squares. The quadrats were separated by only a few metres (generally 2–8 m), and they were always put on patches which were bigger than 25×25 cm. In each quadrat we recorded species present and estimated the number of individuals. Clonal species growing in adjacent 2.5 cm squares within the frame were considered as one single individual when counting the total number of individuals, unless they could be clearly identified as separate individuals (i.e., if visibly recently germinated). However, it is acknowledged that determining an individual of a clonal plant is difficult in practice (Callaghan et al. 1999).

Fig 1
Fig. 1  Scheme of the experimental design: in each of the three plant communities—fell-field, Dryas heath and Salix snowbed—three plots were chosen, which were separated by a few hundred metres from each other; within a radius of ca. 10 m in each plot, three patch types were analysed: M=mosses; D=Dryas; and S=Salix. Four 25×25 cm quadrats (subsamples) of each of these three patch types were chosen randomly within each plot.

In order to describe the patch types in terms of aboveground biomass and availability of nitrogen in leaves, we sampled leaves of Salix and Dryas. We clipped a surface of 10×10 cm for Salix and 7×7 cm for Dryas (the latter showed a more uniform canopy and this amount was considered sufficient). The fresh leaves were kept moist in small, sealed plastic bags and promptly taken to the laboratory. There green leaves were removed and fresh weights obtained. Leaves were then dried at 70°C for 24 h and the dry weight measured. Leaf dry matter content (dry weight/fresh weight) and the ratio of leaf dry weight to area covered were calculated (Supplementary Fig. S1). Nitrogen and carbon concentrations were determined with an elemental analyser (EA1108, Series 1; Carlo Erba Instrumentazione, Milan, Italy). To evaluate the% cover of each patch type in each plant community, we recorded the occurrence of the distinct patch types every 5 cm along five parallel lines of 5 m length in each study plot (see Table 1).

Data analyses

The data were analysed using R software (R Development Core Team 2012). To investigate whether the total number of species and individuals varied, we used a linear mixed model with Poisson error structure, using the lme4 package (Bates & Maechler 2010). The number of species or the number of individuals was the response variable; “plant community” and “patch type” were fixed factors and “patch type” was nested within “plot” as a random factor in the model.

Other parameters were analysed to investigate the specific composition and structure of the patch types and plant communities studied.

We used species accumulation curves to calculate the β-diversity values, which are a degree measure of uniformity of the species pool if interpreted together with the species fidelity values. To estimate species richness at the patch scale in each community, species accumulation curves were obtained by counting the number of species found when increasing the area sampled for each patch type in each community; all of the quadrats of a given patch type×plant community combination were taken as a whole and were added in a random order for 100 times to obtain the final accumulation curves with the Vegan package (Oksanen et al. 2009). From these curves we calculated the β-diversity (Whittaker 1972), defined here as the ratio relating the final species richness in the accumulation curve (n=12 quadrats) to the mean initial richness value in the accumulation curve (n=1 quadrat). Species fidelity was calculated as implemented in Ginkgo (a vegetation data analyser developed by de Cáceres 2012) for all species in each patch type×plant community combination. The fidelity measures the degree to which a species is confined to a given group (Legendre & Legendre 2003). We used the phi fidelity statistic (φ) as defined by Chytrý et al. (2002):

This equation takes into account the number of quadrats in the data set (N); the number of relevés in the particular vegetation unit (Np); the number of occurrences of the species in the data set (n); and the number of occurrences of the species in the particular vegetation unit (np). The value 1 indicates that the species and the vegetation units are completely faithful to each other; only the more faithful (φ>0.3) and the less faithful (φ<−0.3) species are shown.

To assess the floristic similarity between each patch type×plant community combination, we performed a principal components analysis (PCA) by using the FactoMineR package (Husson et al. 2011). Abundance data was transformed by the Hellinger transformation (Legendre & Gallagher 2001) with the Ginkgo multivariate data analyser (de Cáceres 2012). The Hellinger distance more strongly reduces the highest abundance values compared to low values and avoids the similarities derived from sharing absent species (Legendre & Legendre 2003; Borcard et al. 2011). The results are identical to PCA based on a symmetrical matrix of Hellinger distances between objects.

Results

Plant species richness and co-existence patterns

The total number of individual vascular plants counted was 974 in the snowbed community, 994 in the heath and only 556 in the fell-field. Forty eight species were recorded. The number of individuals in Salix patches was lower than in moss patches (Fig. 2a; Supplementary Table S1). Species number did not differ between the distinct patch types in snowbed and heath communities, but these numbers were significantly lower in Dryas patches in the fell-field community (Fig. 2b; Supplementary Table S1).

Fig 2
Fig. 2  (a) Number of individuals and (b) number of species found in the Salix snowbed, the Dryas heath and the fell-field in each patch type (moss, Salix, Dryas).

Species accumulation curves for the distinct patch type×plant community combinations (Fig. 3) indicated that Dryas patches generally accumulate (assuming that associations among species are directly caused by the presence of the dominant species) the lowest absolute number of species when considering all the sampled quadrats, irrespective of the plant community. In the fell-field, Dryas patches promoted a clearly lower final accumulation of species with increasing sampling area compared to Salix and moss patches in this community. Dryas patches also showed rather lower species accumulation in the heath, but this difference became less evident in the snowbed community. Species accumulation was especially high in moss patches in all plant communities. The effect of Dryas on the β-diversity was highest in the fell-field and lowest in the other communities (Supplementary Table S2).

Fig 3
Fig. 3  Species accumulation curves for all the distinct patch type×plant community combinations. FD=fell-field Dryas patches, FM=moss patches; FS=Salix patches; HD=Dryas heath Dryas patches; HM=moss patches; HS=Salix patches; SD=Salix snowbed Dryas patches; SM=moss patches; and SS=Salix patches.

Plant communities

The PCA in Fig. 4 shows the ecological distances (i.e., differences in species similarity based on the Hellinger distance) between the distinct patch type×plant community combinations and indicates that the three plant communities studied may be clearly distinguished from each other by their flora. However, there was no clear difference between patch types if plant communities were analysed separately (results not shown), suggesting that the plots sampled within the plant communities were less variable than plots of the same patch in different communities. When analysing only presence/absence of species in a PCA ordination, therefore irrespective of their local abundance (Supplementary Fig. S3), we observed a very similar pattern and we did not detect a clear segregation related to patch types either.

Fig 4
Fig. 4  Principal component analysis based on the floristic similarity of the distinct patch type×plant community combinations. FD=fell-field Dryas patches; FM=moss patches; FS=Salix patches; HD=Dryas heath Dryas patches; HM=moss patches; HS=Salix patches; SD=Salix snowbed Dryas patches; SM=moss patches; and SS=Salix patches.

Species fidelity

In agreement with the species ordination shown in Fig. 4, the pool of species showing high or low fidelity to the distinct patch type×plant community combinations (Table 2) varied more between communities than it did between patch types within each plant community. The highest fidelities were reached in moss patches in the fell-field and the lowest in this same community but in Salix and Dryas patches. No species showed high fidelity to Dryas patches in the fell-field. When the fidelity was analysed for the whole species pool, irrespective of the patch type, several species showed high fidelity to each plant community. In the Salix snowbeds the species with highest fidelity (φ value higher than 0.3) were Hierochloe alpina, Arctagrostis latifolia, Luzula confusa and Alopecurus borealis; in the heath the high fidelity species were Poa arctica, Kobresia myosuroides and Festuca brachyphylla; in the fell-field the species showing high fidelity were mostly of the genus Saxifraga (S. cernua, S. integrifolia, S. nivalis, S. oppositifolia and S. platysepala) but also the grass Poa glauca.


Table 2 List of species with highest (positive values) and lowest (negative values) fidelity to the distinct patch type×plant community combinations; −1 indicates no fidelity to a plant community, whereas +1 indicates maximum fidelity. Only the species with values of fidelity equal to or higher than 0.3 and those with values equal to or lower than −0.3 are shown.
  Dryas Mosses Salix
Fell-field Luzula confusa −0.41 Saxifraga platysepala 0.62    
      Poa glauca 0.49 Poa glauca 0.41
      Saxifraga cernua 0.45    
      Sagina intermedia 0.43 Sagina intermedia 0.32
      Festuca rubra ssp. richardsonii 0.39 Luzula confusa −0.35
      Saxifraga nivalis 0.39    
Dryas heath Kobresia myosuroides 0.52 Poa arctica 0.41 Poa arctica 0.34
  Festuca brachyphylla 0.43 Potentilla hyparctica 0.3 Carex bigelowii 0.3
Salix snowbed Hierochloe alpina 0.52 Alopecurus borealis 0.44 Hierochloe alpina 0.52
  Arctagrostis latifolia 0.41 Salix arctica 0.34 Arctagrostis latifolia 0.33
  Salix arctica 0.34 Arctagrostis latifolia 0.33 Luzula confusa 0.3
  Stellaria longipes s.l. 0.3        

Discussion

Dominant species most likely determine the species associations at a site. In our study, Dryas patches had a clear negative effect on small-scale plant richness and co-existence in the fell-field. We found that the negative impact of Dryas on plant co-existence can occur in High-Arctic ecosystems depending on the environmental constraints, even though it has been commonly described as a facilitator low shrub in northern latitudes (Chapin et al. 1994; Cooper et al. 2004). Klanderud & Totland (2004) predicted Dryas would have a negative impact on alpine, but not on High-Arctic, community diversity. Salix and moss patches supported a high number of species in the less vegetated upper zone. In fact, Salix and mosses showed a similar pattern across all the plant communities analysed.

Plant co-existence and eventual establishment within the dominant vegetation are governed by many factors, including both external factors—e.g., availability of airborne seeds (Klanderud & Totland 2007)—and factors modulated by the species already present (Pajunen et al. 2011), which may also affect microhabitat characteristics—e.g., the accumulation of allelopathic substances or the structure of the canopy of the dominant species, which has important effects on the availability of light to plants growing below (Shevtsova et al. 1995; Totland & Esaete 2002), or on the provision of moisture, shelter and nutrients. Viable seed rain would be expected to decrease with increasing altitude (Thompson 1978). However, the equally high number of individuals and species observed in Salix and in moss patches in the fell-field compared to the other two communities suggests that the differing pattern of plant co-existence (and expected eventual establishment) observed in Dryas patches is not primarily limited by seed availability. Structural differences between mosses and Salix may explain the lower number of individuals occurring in Salix patches; however, rather similar growth forms like the dwarf shrubs Salix and Dryas did not promote a similar pattern of plant co-existence. Our results therefore suggest that structural differences between patch types did not clearly explain the co-existence patterns observed between patches in terms of number of individuals and species. Alternative explanations should be considered instead.

A possible explanation for the pattern observed in Dryas compared to the other patch types, irrespective of the physical structure of the dominant species, could be that Dryas lacks energy-demanding N-fixing nodulation at higher elevations, whereas at lower elevations it becomes nodulated (Kohls et al. 1994). Therefore, we speculate that Dryas growing under the severe conditions found in the fell-fields may act as a stronger competitor for soil N and may thus reduce its recruiting capacity for potential neighbour competitors (Tilman et al. 2001). This would contrast with the theory that predicts that species richness is higher in relatively harsh environmental conditions compared to more favourable sites due to the relatively minor role of competition in these systems (e.g., Grime 1979). Our study suggests that this would not apply to such very extreme conditions in the High-Arctic as those found in the fell-field. On the other hand, Dryas at the fell-field might actively inhibit recruitment to a higher degree than Salix and mosses by producing allelopathic substances, as plants may respond to varying stress factors by changing their content of secondary plant metabolites (Berg et al. 2008). In any case, further research is needed in relation to possible N-fixation and allelopathy to better understand the observed patterns of plant co-existence in these poorly studied Arctic plant communities.

The high β-diversity observed in Dryas patches in the fell-field (Supplementary Table S2) seems to be related to the low fidelity of the few species occurring at the patch scale (Figs. 2b, 3; Supplementary Table S3), which favours a high species turnover between the distinct sampled quadrats. The species found in Dryas patches in the fell-field differed greatly between quadrats but generally co-occurred with Polygonum viviparum, which was highly abundant in all quadrats (Supplementary Table S3). All the other patch type×plant community combinations showed higher species richness and higher fidelity values, but lower β-diversity, as the species pool was more uniform between quadrats and more similar to the species pool at the community scale.

Floristic similarity based on the Hellinger distance (Fig. 4) varied between plant communities, but it did not change substantially between patch types within each community. Even though plant co-existence patterns and species richness varied at patch scale, the floristic similarity was determined at community scale, as indicated by the similarity between patch types within each community and by the marked differences between communities (Fig. 4; Supplementary Fig. S3).

The fell-field is the most environmentally harsh community, as low plant cover, aboveground primary production and foliar N content are all low (Table 1). Moss and the Salix patches act as small biodiversity “hot spots” in this highly stressed plant community.

The floristic similarity of Dryas heath is intermediate between the fell-field and the snowbed (Fig. 4). However, the similar species richness and co-existence patterns of Dryas heath and the Salix snowbed indicate that these two plant communities may be influenced by a similar overall stress regime despite the differences in the characteristics of the abiotic stress occurring in each community (Table 1). These two communities have a lower overall stress balance than that found at the fell-field.

Our results suggest that the richness and the plant co-existence patterns vary between patch types if influenced by strong abiotic stress. It is predicted that the study area will undergo changes in precipitation and snow cover in the future (Stendel et al. 2008; Brown & Mote 2009; AMAP 2011); altering the abiotic stress regimes will affect the nature of plant–plant interactions (Lortie et al. 2004) and eventually the plant co-existence patterns. If these predicted changes promote stronger abiotic stress, the Arctic plant communities dominated by Dryas may decrease and this will show a decrease in species richness through increased negative interactions of this dwarf shrub on the co-occurring plant species. Further, any changes on the stress regimes altering moss and Salix cover occurring in the fell-fields may promote changes in species richness and diversity at the community scale.

Conclusions

Under a strong abiotic stress regime such as that found at the fell-field, the distinct dominant patch types (i.e., mosses, Salix and Dryas) did not show uniform plant species richness and co-existence patterns; in the comparatively more benign communities (i.e., Salix snowbed and Dryas heath) the distinct patch types showed similar patterns. We therefore predict that any future environmental changes altering the occurrence of the dominant patch types in fell-fields in the High-Arctic may greatly alter plant species richness and co-existence patterns. Further, the contrasting abiotic conditions in the three plant communities strongly determined the floristic composition based on ecological distances at community scale.

This study provides novel insight on plant co-existence patterns and on the structure of contrasting Arctic plant communities in this remote region in north-east Greenland. Our research will help to better assess the potential effects of varying abiotic stress regimes on Arctic vegetation.

Acknowledgements

The research leading to these results has received funding from INTERACT (grant agreement no. 262693) under the European Community’s Seventh Framework Program, and from the research project no. 2009SGR451 from the AGAUR Agency of the Catalan Government. We thank Niels M. Schmidt for his useful advices and the staff at the Zackenberg Research Station for logistical support. We also thank two anonymous reviewers and Bente J. Graae for providing helpful comments on earlier versions of the manuscript.

References

AMAP (Arctic Monitoring and Assessment Programme) 2011. Snow, water, ice and permafrost in the Arctic (SWIPA). Oslo: Arctic Monitoring and Assessment Programme.

Bates D. & Maechler M. 2010. lme4: linear mixed-effects models using S4 classes. R package version 0.999375-33. Accessed on the internet at http://CRAN.R-project.org/package=lme4 on 1 June 2010.

Bay C. 1998. Vegetation mapping of Zackenberg valley, northeast Greenland. Copenhagen: Danish Polar Center and Botanical Museum, University of Copenhagen.

Berg T.B., Schmidt N.M., Høye T.T., Aastrup P.J., Hendrichsen D.K., Forchhammer M.C. & Klein D.R. 2008. High-Arctic plant–herbivore interactions under climate influence. Advances in Ecological Research 40, 275–298.

Bokhorst S., Bjerke J.W., Tømmervik H., Callaghan T.V. & Phoenix G.K. 2009. Winter warming events damage sub-Arctic vegetation: consistent evidence from an experimental manipulation and a natural event. Journal of Ecology 97, 1408–1415. Publisher Full Text

Borcard D., Gillet F. & Legendre P. 2011. Numerical ecology with R. Dordrecht: Springer.

Brown R.D. & Mote P.W. 2009. The response of Northern Hemisphere snow cover to a changing climate. Journal of Climate 22, 2124–2145. Publisher Full Text

Callaghan T.V., Johansson M., Brown R.D., Groisman P.Y., Labba N., Radionov V., Bradley R.S., Blangy S., Bulygina O.N., Christensen T.R., Colman J.E., Essery R.L.H., Forbes B.C., Forchhammer M.C., Golubev V.N., Honrath R.E., Juday G.P., Meshcherskaya A.V., Phoenix G.K., Pomeroy J., Rautio A., Robinson D.A., Schmidt N.M., Serreze M.C., Shevchenko V.P., Shiklomanov A.I., Shmakin A.B., Sköld P., Sturm M., Woo M. & Wood E.F. 2011. Multiple effects of changes in Arctic snow cover. Ambio 40, 32–45. PubMed Central Full Text | Publisher Full Text

Callaghan T.V., Press M.C., Lee J.A., Robinson D. & Anderson C. 1999. Spatial and temporal variability in the responses of Arctic terrestrial ecosystems to environmental change. Polar Research 18, 1–7. Publisher Full Text

Callaghan T.V., Tweedie C.E., Åkerman J., Andrews C., Bergstedt J., Butler M.G., Christensen T.R., Cooley D., Dahlberg U., Danby R.K., Daniëls F.J., de Molenaar J.G., Dick J., Mortensen C.E., Ebert-May D., Emanuelsson U., Eriksson H., Hedenås H., Henry H.R.G, Hik D.S., Hobbie J.E., Jantze E.J., Jaspers C., Johansson C., Johansson M., Johnson D.R., Johnstone J.F., Jonasson C., Kennedy C., Kenney A.J., Keuper F., Koh S., Krebs C.J., Lantuit H., Lara M.J., Lin D., Lougheed V.L., Madsen J., Matveyeva N., Mcewen D.C., Myers-Smith I.H., Narozhniy Y.K., Olsson H., Pohjola V.A., Price L.W., Rigét F., Rundqvist S., Sandström A., Tamstorf M., Van Bogaert R., Villarreal S., Webber P.J. & Zemtsov V.A. 2011. Multi-decadal changes in tundra environments and ecosystems: synthesis of the International Polar Year Back to the Future Project. Ambio 40, 705–716. PubMed Abstract | PubMed Central Full Text | Publisher Full Text

Chapin F.S. III, Walker L.R., Fastie C.L. & Sharman L.C. 1994. Mechanisms of primary succession following deglaciation at Glacier Bay, Alaska. Ecological Monographs 64, 149–175. Publisher Full Text

Christiansen H.H., Sigsgaard C., Humlum O., Rasch M. & Hansen B.U. 2008. Permafrost and periglacial geomorphology at Zackenberg. Advances in Ecological Research 40, 151–174.

Chytrý M., Lubomír T., Jason H. & Zoltán B.D. 2002. Determination of diagnostic species with statistical fidelity measures. Journal of Vegetation Science 13, 79–90. Publisher Full Text

Cooper E.J., Alsos I.G., Hagen D., Smith F.M., Coulson S.J. & Hodkinson I.D. 2004. Plant recruitment in the High Arctic: seed bank and seedling emergence on Svalbard. Journal of Vegetation Science 15, 115–124. Publisher Full Text

de Cáceres M. 2012. Ginkgo user’s manual. Version 1.4. Accessed on the internet at http://biodiver.bio.ub.es/veganaweb/resources/manual-ginkgo/manual.pdf on 1 October 2012.

Elberling B., Tamstorf M.P., Michelsen A., Arndal M.F., Sigsgaard C, Illeris L., Bay C., Hansen B.U., Christensen T.R., Hansen E.S., Jakobsen B.H. & Beyens L. 2008. Soil and plant community-characteristics and dynamics at Zackenberg. Advances in Ecological Research 40, 223–248.

Euskirchen E.S., McGuire A.D., Kicklighter D.W., Zhuang Q., Clein J.S., Dargaville R.J., Dye D.G., Kimball J.S., McDonald K.C., Melillo J.M., Romanovsky V.E. & Smith N.V. 2006. Importance of recent shifts in soil thermal dynamics on growing season length, productivity, and carbon sequestration in terrestrial high-latitude ecosystems. Global Change Biology 12, 731–750. Publisher Full Text

Evans B.M., Walker D.A., Benson C.S., Nordstrand E.A. & Petersen G.W. 1989. Spatial interrelationships between terrain, snow distribution and vegetation patterns at an Arctic foothills site in Alaska. Holarctic Ecology 12, 270–278.

Graae B.J., Ejrnæs R., Lang S.I., Meineri E., Ibarra P.T. & Bruun H.H. 2011. Strong microsite control of seedling recruitment in tundra. Oecologia 166, 565–576. PubMed Abstract | Publisher Full Text

Grau O., Ninot J., Blanco-Moreno J.M., van Logtestijn R.S.P, Cornelissen J.H.C. & Callaghan T.V. 2012. Shrub–tree interactions and environmental changes drive treeline dynamics in the Subarctic. Oikos 121, 1680–1690. Publisher Full Text

Grime J.P. 1979. Plant strategies and vegetation processes. Chichester, UK: John Wiley & Sons.

Hallinger M. & Wilmking M. 2011. No change without a cause—why climate change remains the most plausible reason for shrub growth in Scandinavia. New Phytologist 189, 902–908. PubMed Abstract | Publisher Full Text

Hansen B.U., Sigsgaard C., Rasmussen L., Cappelen J., Hinkler J., Mernild S.H., Petersen D., Tamstorf M.P., Rasch M. & Hasholt B. 2008. Present-day climate at Zackenberg. Advances in Ecological Research 40, 111–149.

Hinkler J., Hansen B.U., Tamstorf M.P., Sigsgaard C. & Petersen D. 2008. Snow and snow-cover in central northeast Greenland. Advances in Ecological Research 40, 175–195.

Høye T.T., Post E., Meltofte H., Schmidt N.M. & Forchhammer M.C. 2007. Rapid advancement of spring in the High Arctic. Current Biology 17, 449–450. Publisher Full Text

Husson F., Julie J & Lê S. 2011. FactomineR. Accessed on the internet at http://factominer.free.fr/ on 1 December 2011.

Klanderud K. & Totland Ø. 2004. Habitat dependent nurse-effects of the dwarf shrub Dryas octopetala on alpine and Arctic plant community structure. Ecoscience 11, 410–420.

Klanderud K. & Totland Ø. 2007. The relative role of dispersal and local interactions for alpine plant community diversity under simulated climate warming. Oikos 116, 1279–1288. Publisher Full Text

Klein D.R. & Bay C. 1994. Resource partitioning by mammalian herbivores in the High Arctic. Oecologia 97, 439–450. Publisher Full Text

Kohls S.J., van Kessel C., Baker D.D., Grigal D.F. & Lawrence D.B. 1994. Assessment of N2 fixation and N cycling by Dryas along a chronosequence within the forelands of the Athabasca Glacier, Canada. Soil Biology and Biochemistry 26, 623–632. Publisher Full Text

Lara M.J., Villarreal S., Johnson D.R., Hollister R.D., Webber P.J. & Tweedie C.E. 2012. Estimated change in tundra ecosystem function near Barrow, Alaska between 1972 and 2010. Environmental Research Letters 7, 015507, doi: 10.1088/1748–9326/7/1/015507. Publisher Full Text

Legendre P. & Gallagher E.D. 2001. Ecologically meaningful transformations of ordinations of species data. Oecologia 129, 271–280. Publisher Full Text

Legendre P. & Legendre L. 2003. Numerical ecology. 3rd edn. Amsterdam: Elsevier.

Lortie C., Brooker R.W., Choler P., Kikvidze Z., Michalet R., Pugnaire F.I. & Callaway R.M. 2004. Rethinking plant community theory. Oikos 107, 433–438. Publisher Full Text

Meltofte H. & Rasch M. 2008. The study area at Zackenberg. Advances in Ecological Research 40, 101–110.

Myers-Smith I., Forbes B., Wilmking M., Hallinger M., Lantz T., Blok D., Tape K., Macias-Fauria M., Sass-Klaassen U., Lévesque E., Boudreau S., Ropars P., Hermanutz L., Trant A., Siegwart Collier L., Weijers S., Rozema J., Martin Schmidt N., Schaepman-Strub G., Wipf S., Rixen C., Ménard C., Venn S., Goetz S., Andreu-Hayles L., Elmendorf S., Ravolainen V., Welker J., Grogan Pz., Epstein H. & Hik D. 2011. Shrub expansion in tundra ecosystems: dynamics, impacts and research priorities. Environmental Research Letter 6, 045509, doi: 10.1088/1748-9326/6/4/045509. Publisher Full Text

Oksanen J., Kindt R., Legendre P., O’Hara P., Simpson G.L., Solymos P., Steven M.H.H. & Wagner H. 2009. Vegan: Community Ecology Package. R package, version 1, 15–3. Accessed on the internet at http://cran.r-project.org/web/packages/vegan/index.html on 1 June 2010.

Pajunen A.M., Oksanen J. & Virtanen R. 2011. Impact of shrub canopies on understory vegetation in western Eurasian tundra. Journal of Vegetation 22, 837–846. Publisher Full Text

Post E., Forchhammer M.C., Bret-Harte S., Callaghan T.V., Christensen T.R., Elberling B., Fox A.D., Gilg O., Hik D.S., Ims R.A., Jeppesen E., Klein D.R., Madsen J., McGuire A.D., Rysgaard S., Schindler D.E., Stirling I., Tamstorf M.P., Tyler N.J.C., van der Wal R., Welker J., Wookey P.A., Schmidt N.M. & Aastrup P. 2009. Ecological dynamics across the Arctic associated with recent climate change. Science 325, 1355–1358. PubMed Abstract | Publisher Full Text

R Development Core Team 2012. R: a language and environment for statistical computing. Vienna: R Foundation for Statistical Computing.

Rundqvist S., Hedenas H., Sandstrom A., Emanuelsson U., Eriksson H., Jonasson C. & Callaghan T.V. 2011. Tree and shrub expansion over the past 34 years at the tree-line near Abisko, Sweden. Ambio 40, 683–692. PubMed Abstract | PubMed Central Full Text | Publisher Full Text

Schmidt N.M., Kristensen D.K., Michelsen A. & Bay C. 2012. High Arctic plant community responses to a decade of ambient warming. Biodiversity 13, 191–199. Publisher Full Text

Shevtsova A., Ojala A., Neuvonen S., Vieno M. & Haukioja E. 1995. Growth and reproduction of dwarf shrubs in a Subarctic plant community: annual variation and above-ground interactions with neighbours. Journal of Ecology 83, 263–275. Publisher Full Text

Solomon S., Qin D., Manning M., Chen Z., Marquis M., Averyt K.B., Tignor M. & Miller H.L. Jr. (eds.) 2007. Climate change 2007. The physical science basis: contribution of Working Group I to the fourth assessment report of the Intergovernmental Panel on Climate Change. Cambridge: Cambridge University Press.

Soudzilovskaia N.A., Graae B.J., Douma J.C., Grau O., Milbau A., Shevtsova A., Wolters L. & Cornelissen J.H.C. 2011. How do bryophytes govern generative recruitment of vascular plants? New Phytologist 190, 1019–1031. PubMed Abstract | Publisher Full Text

Stendel M., Christensen J.H. & Petersen D. 2008. Arctic climate and climate change with a focus on Greenland. Advances in Ecological Research 40, 13–43.

Symon C., Arris L. & Heal B. (eds.) 2005. Arctic climate impact assessment. Cambridge: Cambridge University Press.

Thompson K. 1978. The occurrence of buried viable seeds in relation to environmental gradients. Journal of Biogeography 5, 425–430. Publisher Full Text

Tilman D., Reich P.B., Knops J., Wedin D., Mielke T. & Lehman C. 2001. Diversity and productivity in a long-term grassland experiment. Science 294, 843–845. PubMed Abstract | Publisher Full Text

Totland Ø. & Esaete J. 2002. Effects of willow canopies on plant species performance in a low-alpine community. Plant Ecology 161, 157–166. Publisher Full Text

Van Bogaert R., Haneca K., Hoogesteger J., Jonasson C., De Dapper M. & Callaghan T.V. 2011. A century of tree line changes in sub-Arctic Sweden show local and regional variability and only a minor role of 20th century climate warming. Journal of Biogeography 38, 907–921. Publisher Full Text

Van Wijk M., Clemmensen K.E., Shaver G.R., Williams M., Callaghan T.V., Chapin F.S. III, Cornelissen J.H.C., Gough L., Hobbie S.E., Jonasson S., Lee J.A., Michelsen A., Press M.C., Richardson S.J. & Rueth H. 2003. Long-term ecosystem level experiments at Toolik Lake, Alaska, and at Abisko, Northern Sweden: generalisations and differences in ecosystem and plant type responses to global change. Global Change Biology 10, 105–123. Publisher Full Text

Wahren C.H.A., Walker M.D. & Bret-Harte M.S. 2005. Vegetation responses in Alaskan Arctic tundra after 8 years of a summer warming and winter snow manipulation experiment. Global Change Biology 11, 537–552. Publisher Full Text

Walker M.D., Wahren C.H., Hollister R.D., Henry G.H.R, Ahlquist L.E., Alatalo J.M., Bret-Harte M.S., Calef M.P., Callaghan T.V., Carroll A.B., Epstein H.E., Jónsdóttir I.S., Klein J.A., Magnússon B., Molau U., Oberbauer S.F., Rewa S.P., Robinson C.H., Shaver G.R., Suding K.N., Thompson C.C., Tolvanen A., Totlandt Ø., Turner P.L., Tweedie C.E., Webber P.J. & Wookey P.A. 2006. Plant community responses to experimental warming across the tundra biome. Proceedings of the National Academy of Sciences of the United States of America 103, 1342–1346. PubMed Abstract | PubMed Central Full Text | Publisher Full Text

Whittaker R.H. 1972. Evolution and measurement of species diversity. Taxon 21, 213–251. Publisher Full Text